La compañía Apple ha presentado ante la Oficina de Patentes y Marcas de Estados Unidos una patente que describe una bolsa de papel. La solicitud, que fue enviada por la empresa en marzo, ha sido publicada a mediados de septiembre.
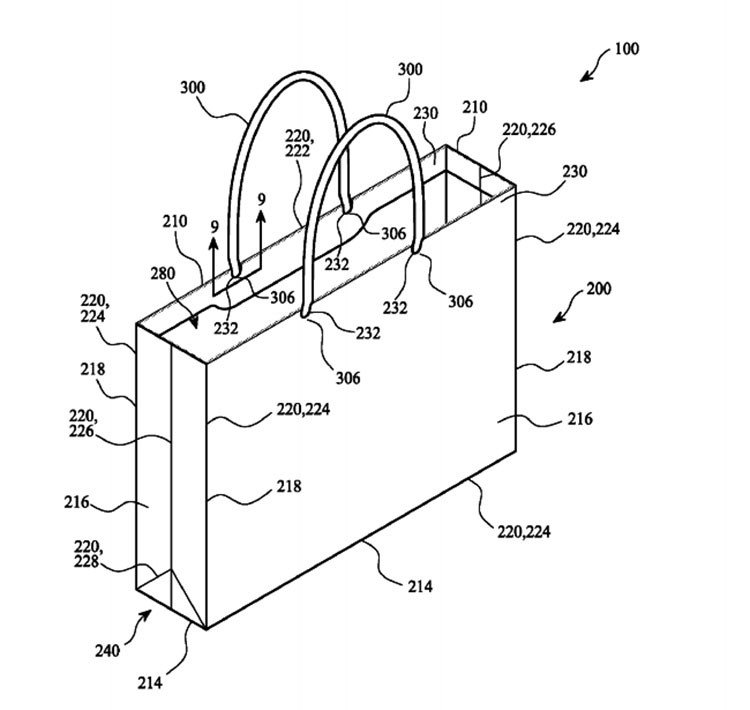
La patente presenta un contenedor "hecho de papel blanco compuesto de al menos un 60 por ciento de contenido reciclado", así como varios modelos de la misma bolsa de papel.

Según la solicitud de Apple, se pueden insertar suplementos de refuerzo en la bolsa, lo que compensará la reducida resistencia de papel reciclado. Además, los creadores del recipiente proponen resolver el problema de la dureza de las asas de la bolsa, haciéndolas más suaves con el uso de fibras de papel.
La bolsa de papel ha sido diseñada por los mismos diseñadores que trabajaron en el diseño de cargadores que se unen a los dispositivos de Apple utilizando un imán, y en componentes de zapatos Nike, señala el portal The Verge.
De momento se desconoce si Apple recibe la patente del paquete. Ya en abril de 2016 la compañía reemplazó en sus tiendas sus bolsas de plástico por las de papel.
